Head CT > Trauma > Skull Fracture
Skull Fracture
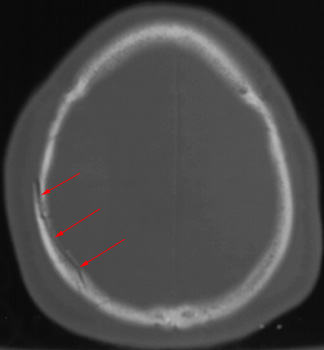
![]()
Skull fractures are categorized as linear or depressed, depending on whether the fracture fragments are depressed below the surface of the skull. Linear fractures are more common. The bone windows must be examined carefully. A skull fracture is most clinically significant if the paranasal sinus or skull base is involved. Fractures must be distinguished from sutures that occur in anatomical locations (sagittal, coronal, lambdoidal) and venous channels. Sutures have undulating margins both sutures and venous channels have sclerotic margins. Venous channels have undulating sides. Depressed fractures are characterized by inward displacement of fracture fragments.

