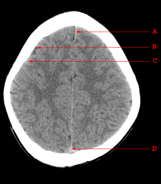
Normal Anatomy
A. Falx Cerebri B. Sulcus C. Gyrus D. Superior Sagittal Sinus
A. Falx Cerebri
B. Sulcus
C. Gyrus
D. Superior Sagittal Sinus